Motorenregelung MST 102
Ermöglicht den Betrieb des 3P-Regler MST 101 mit einem Schrittmotor als Stellantrieb.
- Für bipolare Schrittmotoren bis zu 2A Phasenstrom
- Phasenstromüberwachung einstellbar (Chopper)
- Zwei Drehzahlen wählbar (Jumper)
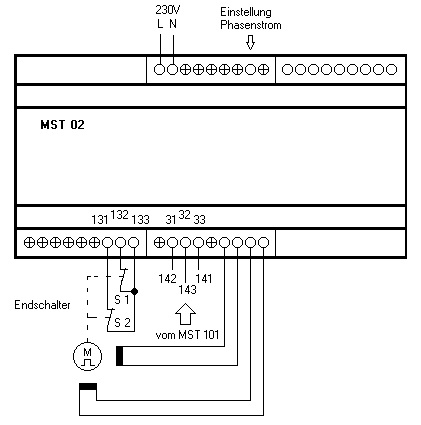
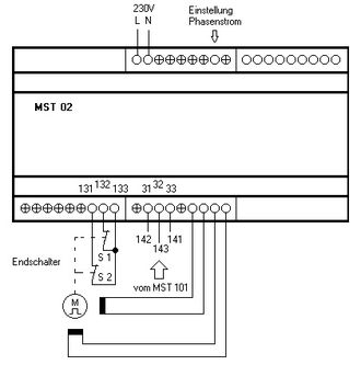
Anschlussplan MST 102
Die Einstellung des Phasenstromes wird am Einstellwiderstand (oben) vorgenommen. Nach Entfernen der Klemmenabdeckung (Links unten) ist der Jumper für die Änderung der Drehzahlen zugänglich.
Umlaufdauer:
- Jumper offen; 12 sec/Umdrehung
- Jumper gesetzt; 6 sec/Umdrehung
- Weitere Drehzahlen sind nach Absprache möglich.
Technische Daten MST 102
|
Betriebsspannung |
230 V AC ±10% ; 50 Hz |
|
Sicherung intern |
500 mA, träge |
|
Leistungsaufnahme |
max. 25 VA |
|
Ausgangsspannung mit internen Netzteil |
12 V DC |
|
Ausgangsspannung mit externen Netzteil |
max. 24 V DC |
|
Phasenstrom pro Ausgang mit externen Netzteil |
max. 2A pro Phase |
|
Kabelanschluss |
max. 1,5 mm² |
|
Masse |
ca. 820 g |
|
Schutzgrad |
IP20 |
|
Umgebungstemperatur |
+5°C bis + 40°C |
|
Lagertemperatur |
+5 °C bis +80 °C |
|
Abmaße des Hutschienengehäuses (BxHxT) |
(160x90x60) mm |
|
Befestigung |
DIN-Schiene-Montage |
|
Approbation |
CE, EN61000-6-3, EN61010-1 |