Dreiphasenstelltransformatoren (DSS) Bauart A mit Motorantrieb
Technische Daten
| Schutzgrad: | IP00 |
| Isolierklasse: | B |
| Umgebungstemperatur: | max. +45°C |
| Prüfspannung Wicklung-Welle: | 4 kV |
| Frequenz: | 50/60 Hz |
| Nenneingangsspannung: | 3x400V |
| Aufstellhöhe: | 1000m |
| Konformität: | CE,RoHs, EAC |
| Aufbau entsprechend: | VDE 0552/ DIN EN 61558-2-14 |
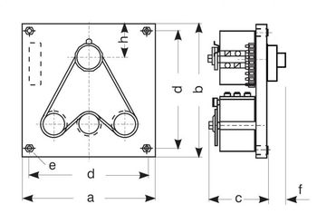
Abmessungen DSS Bauart A
| a in mm | b in mm | c in mm | d in mm | e in mm | f in mm | g ∅ in mm | h in mm | Masse in kg | |
|---|---|---|---|---|---|---|---|---|---|
| DSS 9010 | 200 | 200 | 80 | 180 | M5 | 80 | 6 | 53 | 5,5 |
| DSS 9013 | 200 | 200 | 80 | 180 | M5 | 80 | 6 | 53 | 5,5 |
| DSS 9020 | 300 | 300 | 100 | 260 | M5 | 80 | 8 | 75 | 10 |
| DSS 9032 | 300 | 300 | 100 | 260 | M5 | 80 | 8 | 75 | 13 |
| DSS 9040 | 300 | 300 | 100 | 260 | M5 | 80 | 8 | 75 | 14 |
| DSS 9063 | 300 | 300 | 130 | 260 | M5 | 80 | 8 | 75 | 18 |
Vorteile
| Bauart A: | Anordnung der Transformatoren erfolgt in Dreieckiger Form |
| Vorteile: | |
| -Sehr Kompakte Bauform | |
| -Sehr lange Lebensdauer | |
| -Verguss in einer Kunststoffschale, Beschädigungen an den Wicklungen werden auf ein Minimum reduziert | |
| -Beschichtete Schleifbahn, dadurch beste Gleiteigenschaften | |
| -Wartungsarm, da selbstreinigende Schleifbahn | |
| -Große Auflagefläche der Schleifbahn, dadurch beste Stromabnahme | |
| -Stromabnehmer mit Kühlkörper zur Warmeableitung | |
| -Variable Ströme, Spannungen möglich | |
| -Zusätzliche Abnahme von Festspannungen möglich | |
| -Betrieb/ Einsatz unter Öl | |
| -Sehr geringe Verlustleistung | |
| -Selbstverlöschend (Brandschutz) |